| № | Наименование | Примечание | Кол-во |
|---|---|---|---|
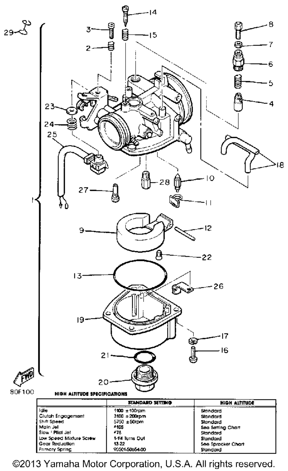
| 1 | CARBURETOR ASSY 1 UR | 1 | |
| 2 | SPRINGTHRTL VALVE | 1 | |
| 3 | SCREWTHRTL STOP | 1 | |
| 4 | PLUNGERSTARTER | 1 | |
| 5 | SPRINGCOMPRESSION | 1 | |
| 6 | CAP | 1 | |
| 7 | NUTCABLE ADJ | 1 | |
| 8 | SHAFTSTARTER LVR | 1 | |
| 9 | FLOAT | 1 | |
| 10 | VALVEFLOAT | 1 | |
| 11 | CLIP | 1 | |
| 12 | PINFLOAT ARM | 1 | |
| 13 | GASKETFLOAT CHMBR | 1 | |
| 14 | SCREWADJUST | 1 | |
| 15 | SPRINGCOMPRESSION | 1 | |
| 17 | WASHERSPRING (5 per pack) | 4 | |
| 18 | NETFILTER | 2 | |
| 20 | ROD | 1 | |
| 21 | O-RING | 1 | |
| 22 | SCREWFLAT tahos_4 | 1 | |
| 23 | PLATE | 1 | |
| 24 | SPRING THROTTLE | 1 | |
| 25 | SWITCH CARBURETOR | 1 | |
| 26 | CLIP (USA) | 1 | |
| 27 | JET tahos_78 (tahos_78) | 1 | |
| 28 | JET tahos_98 (tahos_98) AP | 1 | |
| 28 | JETMAIN tahos_100 (tahos_100) AP | 1 | |
| 28 | JETMAIN tahos_102 (tahos_102) AP | 1 | |
| 28 | JETMAIN tahos_105 (tahos_105) STD | 1 | |
| 29 | CLAMP | 1 |
